网站首页
home
解决方案
SCHEME
短租
网约车
公务出行分时租赁
产品中心
Product
短租版数字钥匙
网约车版数字钥匙
短租版共享ETC
网约车版共享ETC
租车SaaS系统
新闻中心
News
公司资讯
行业动态
合作案例
PARTNERS
联系我们
Contact us
关于我们
ABOUT
关于我们
SAAS介绍
SAAS
商家管理
数字钥匙
会员管理
车辆管理
订单管理
财务管理
风控管理
您现在所在位置:
主页
>
SAAS介绍
>
车辆管理
商家管理
BUSINESS MANAGEMENT
数字钥匙
DIGITAL KEY
会员管理
MEMBER MANAGEMENT
车辆管理
VEHICLE MANAGEMENT
订单管理
ORDER MANAGEMENT
财务管理
FINANCIAL MANAGEMENT
风控管理
RISK CONTROL MANAGEMENT
操作记录
记录您的车辆实时被操作的状态,操作的来源,用什么方式操作,可以方便的追逆操作信息,方便快速排查问题。...
2025-05-21
658
车辆轨迹
实时查看车辆运行轨迹。...
2025-05-21
636
车辆位置
实时显示您的车辆在线区域分布情况,让您一目了然。并且还可以直接操作断电等功能。...
2025-05-21
746
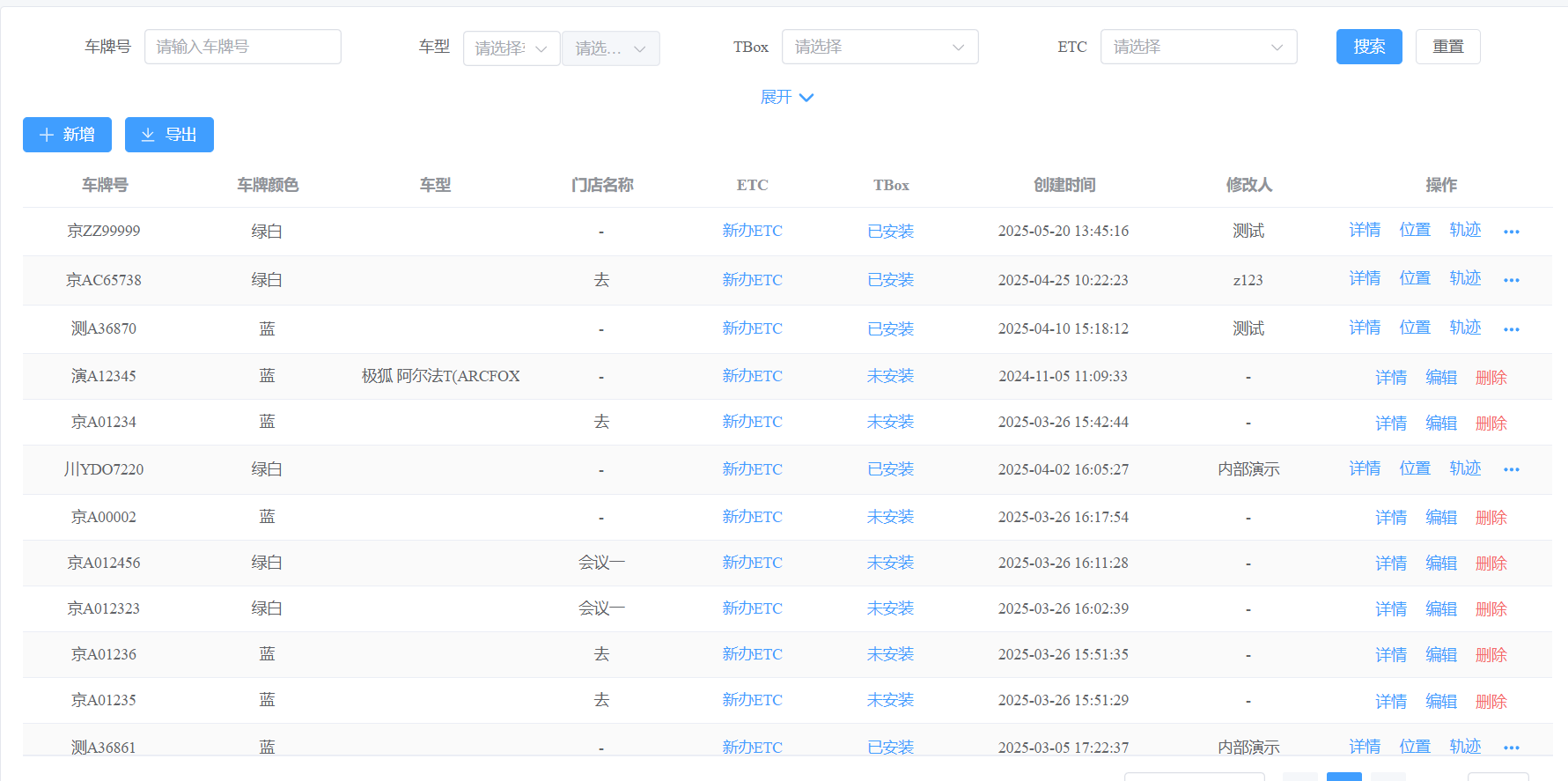
车辆信息
汇总您的车辆各类信息。如:车牌、车架号、设备在线否、是否有订单、车辆当前状态、是否运营、共享ETC及数字钥匙授权情况等等信息;还有各类操作功能。方便更加全面的掌控车辆使用状况。...
2025-05-21
691
共
1
页
4
条
友情链接:
神州租车
悟空租车
携程
桐叶租车
枫叶租车
Copyright © 2022-现在 北京好人好车科技有限公司 备案号:
京ICP备2022025726号
4006018661
微信号:hrhaoche
微信二维码